HF rakentelujuttuja / vinkkejä

 

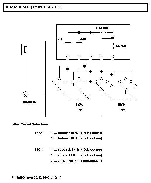
Audio Suodin (Yaesu SP-767 kytkentä )
Antenni juttuja
Antenni-analysaattorit
Alpha 9500 tuuletin ongelma
BPF rakentelu vinkkejä (W3NQN )
EP85 tranceiver
Eräs antennituneri
LBS 2005
DDSvfo kokeiluja

JUMA-RX1    (linkki)
JUMA-TX1    (linkki)
JUMA-TRX1 (linkki)

QROlle (linkki)

Yaesu FT-1000mp radion LPF filtterin arvoja
LPF filtterin parantelua
Icom 706 rigin LPF ongelma (antenniliitin ?)
Harvavälisäätökonkan rakentelujuttuja
Y-haaran tekeminen koaksiaalikaapeliin (dipolit ,yagit ym. antennit esim. )
X-PHASE häiriöeliminaattori kokeiluja

Huolto ohjeita:

Yaesu FT-1000 MKV

 

 

Takaisin valikkosivulle